CARCAM QUADRO Lite – 4-канальный автомобильный видеорегистратор с возможностью подключения до 4 AHD камер высокого разрешения 720р. Запись ведется на 2 карты памяти SD до 128
4 HD канала
Видеорегистратор поддерживает одновременную запись видео и аудио с 4 каналов. Запись ведется в высоком разрешении 720p, что позволяет с легкостью рассмотреть все подробности происходящего в салоне транспортного средства.
Защита от потери данных
Специальная технология записи видео защищает от потери данных в случае экстренного отключения питания.
Пульт ДУ
В комплект КАРКАМ КВАДРО Lite входит специальный пульт дистанционного управления, который позволит вам удобно управлять всеми функциями системы видеофиксации.
Подключение монитора
CARCAM QUADRO Lite оснащен видеовыходом для подключения монитора, который позволит просматривать изображение с камер в режиме реального времени, а также воспроизводить архив записей не изымая карту памяти из устройства.
Контроль состояния, скорости и маршрута ТС
Контроль технического состояния транспортного средства с помощью подключаемых охранных датчиков, датчика зажигания, сигнализации, датчика работы тормозной системы, расхода топлива и тд.
Запись на SD карту памяти до 128 ГБ
Запись ведется последовательно на 2 SD карты памяти до 128
Хранение архива
| Разрешение | Битрейт, Мб/с | Запись на 16 ГБ, час | Запись на 32 ГБ, час |
Запись на 64 ГБ, час |
Запись на 128 ГБ, час |
Запись на 256 ГБ, час (при использовании 2х карт по 128 ГБ) |
|---|---|---|---|---|---|---|
| 1280x720p | 1,2 | 10,5 | 21,1 | 42,3 | 84,7 | 169,4 |
| 1280x720p | 0,6 | 21,1 | 42,3 | 84,6 | 169,3 | 338,6 |
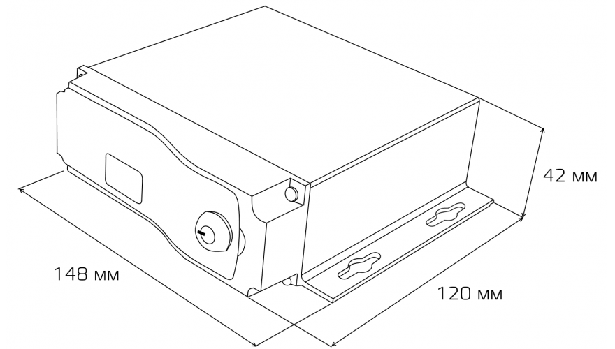
Компактность и надежность
Оборудование имеет компактные размеры и удобно в монтаже, так как разработано специально для установки в автобусах, такси, поездах, грузовиках, эвакуаторах, и другом пассажирском и грузовом транспорте. Корпус устройства со степенью защиты IP54 выполнен из металла и обладает защитой от несанкционированного доступа с персональным ключом.
|
Тип товара
|
Автомобильный видеорегистратор |
|
Бренд
|
CARCAM |
|
Поддержка карт памяти, ГБ
? Тип и максимальный объем карт памяти, которые могут использоваться в устройстве |
SD до 128 ГБ |
|
Мобильное приложение
|
Да |
|
Максимальное разрешение
|
1280x720p |
|
Датчик удара (G-сенсор)
? Датчик удара позволяет устройству автоматически защитить видеофайл от перезаписи в случае резкого торможения или ДТП |
Да |
|
Микрофон
|
Опционально |
|
Видеокодек
|
H.264, 8 уровней качества |
|
Автостарт записи при включении питания
|
Да |
|
Детектор движения
|
Да |
|
Видеовход
|
До 4 каналов |
|
Поддержка мобильных устройств
|
Android, iOS |
|
Видеовыходы
|
1 канал |
|
Входы/Выходы
|
AV-IN, AV-OUT |
|
Комплект поставки
|
Видеорегистратор , Кабель питания , 3 кабеля подключения камер без микрофона (переходник на BNC) , Запасной предохранитель , Пульт , 2 кабеля подключения камеры/монитора со входом/выходом звука , Ключ |
|
Штамп на видео
? Функция отображения на видео штампа, который может содержать в себе время, дату, а также координаты и скорость движения автомобиля в зависимости от наличия GPS-модуля |
Время, Координаты, Показания датчиков, Скорость |
|
Индикация
|
Индикатор питания, Состояния записи |
|
Поддерживаемые ОС
? Поддерживаемые операционные системы |
Linux |
|
Циклическая запись
? Циклическая запись ведется короткими роликами от 30 секунд до 10 минут и более. Запись нового видеоматериала не прерывается. Перезапись происходит в тот момент, когда объема памяти на SD карте становится недостаточно для нового материала |
Да |
|
Функции
|
Синхронизация данных неограниченного количества транспортных средств с единым центром управления , Формирование индивидуальных или общих отчетов по группе транспортных средств, Контроль скорости , Поиск записи в архиве по дате/времени, координатам, скорости, Одновременное воспроизведение от 1 до 4 каналов , Навигация с поддержкой Google Map , Запись: автоматическая; по событию; по расписанию , Аналитика, контроль расхода ГСМ, зажигания, тормозов, скорости, поддержка датчиков сигнализации, Запись маршрута следования с последующим отображением на электронных картах, ОНЛАЙН просмотр изображения с камер, координат, скорости, показаний датчиков, состояния тревоги , Настройка скорости воспроизведения 1X - 16X, Многопользовательский режим использования , Настройка количества кадров в секунду при записи (от 1 до 30 к/с) |
|
Степень защиты
? Первое число информирует о степени защиты от твердых частиц. Второе число информирует о степени защиты от воды |
IP54 |
|
Рабочая влажность
? Максимально допустимая относительная влажность воздуха для корректной работы устройства |
от 5% до 90% |
|
Рабочая температура
? Диапазон температур, в котором устройство работает исправно |
От -40 °C до +60 °C |
|
Вес изделия
|
400 г |
|
Габариты
|
112x36x138 мм |
Для покупки товара в нашем интернет-магазине выберите понравившийся товар и добавьте его в корзину. Далее перейдите в Корзину и нажмите на «Оформить заказ» или «Быстрый заказ».
Когда оформляете быстрый заказ, напишите ФИО, телефон и e-mail. Вам перезвонит менеджер и уточнит условия заказа. По результатам разговора вам придет подтверждение оформления товара на почту или через СМС. Теперь останется только ждать доставки и радоваться новой покупке.
Оформление заказа в стандартном режиме выглядит следующим образом. Заполняете полностью форму по последовательным этапам: адрес, способ доставки, оплаты, данные о себе. Советуем в комментарии к заказу написать информацию, которая поможет курьеру вас найти. Нажмите кнопку «Оформить заказ».
Вы можете выбрать наиболее удобный для вас способ оплаты:
-
Наличными при самовывозе из фирменных магазинов AV808
-
Наличными курьеру при доставке курьерской службой AV808
-
Картой при самовывозе из фирменных магазинов или пункта выдачи заказов
-
Онлайн оплата через платёжные системы
Яндекс Касса,
СберPay,
T-Pay или по QR через
СБП
-
Оплата с рассрочкой или в кредит от
СберБанк,
Яндекс или
Тинькофф
При онлайн оплате вам потребуется заполнить специальную форму. Обязательно укажите: ваши имя и фамилию, электронный адрес и номер телефона.
Также вы можете получить ссылку на оплату по электронной почте или в СМС.
Более подробно о всех вариантах и условиях оплаты заказа вы можете узнать здесь.
Вы можете выбрать наиболее удобный для вас способ получения товара:
Курьерская доставка
-
Курьерская Яндекс Доставка
-
Курьерская доставка AV808
-
Курьерская доставка DPD
-
Курьерская доставка СДЕК
Самовывоз из пункта выдачи заказов
-
Самовывоз из пункта Яндекс
-
Самовывоз из магазина AV808
-
Самовывоз из пункта DPD
-
Самовывоз из пункта СДЕК
При доставке в пункт выдачи, вы сами выбираете на карте удобный для вас пункт и получаете номер для отслеживания посылки.
При поступлении заказа в пункт выдачи, вы дополнительно получаете СМС уведомление на указанный при оформлении номер телефона.
По согласованию возможны специальные условия доставки (ПЭК, Деловые линии).
Доставка осуществляется по всей территории России.
Более подробно о всех условиях и вариантах доставки вы можете узнать здесь.


Наличными при самовывозе из фирменных магазинов AV808
Картой при самовывозе из фирменных магазинов или пункта выдачи заказов
Онлайн оплата через платёжные системы
Яндекс Касса,
СберPay,
T-Pay или по QR через
СБП
Оплата с рассрочкой или в кредит от
Курьерская доставка DPD